Gifting has never been easier
Perfect if you're short on time or are unable to deliver your gift yourself. Enter your message and select when to send it.
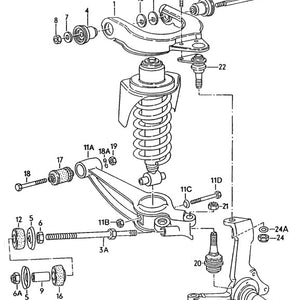
| Product: | 251-407-059A |
|---|---|
| Works With: | 1980-1991 |
| Manufacturer: | Quality Aftermarket |
High-quality aftermarket replacement radius rod for 2WD Vanagon. Sold individually. Two required per vehicle.
Fits: All 1980-91 2WD Vanagon.ย
Looking for a Syncro version? Get that one here.